Cmedia方案介绍

虚拟7.1游戏耳机 AIENC降噪方案 声卡 麦克风方案

April 16, 2026

CM7037拆机级深度解读:S/PDIF输入Codec的规格与量产落差根因逐级定位

CM7037标注120dB SNR,量产板实测112-115dB——这5-8dB的落差到底来自Jitter、PLL还是电源纹波?本文给出工程师可操作的Jitter注入路径分级定位方法论,并分析CM7037与CM7104的差异化选型逻辑。

#CM7037#S/PDIF输入#C-Media音频Codec
April 16, 2026

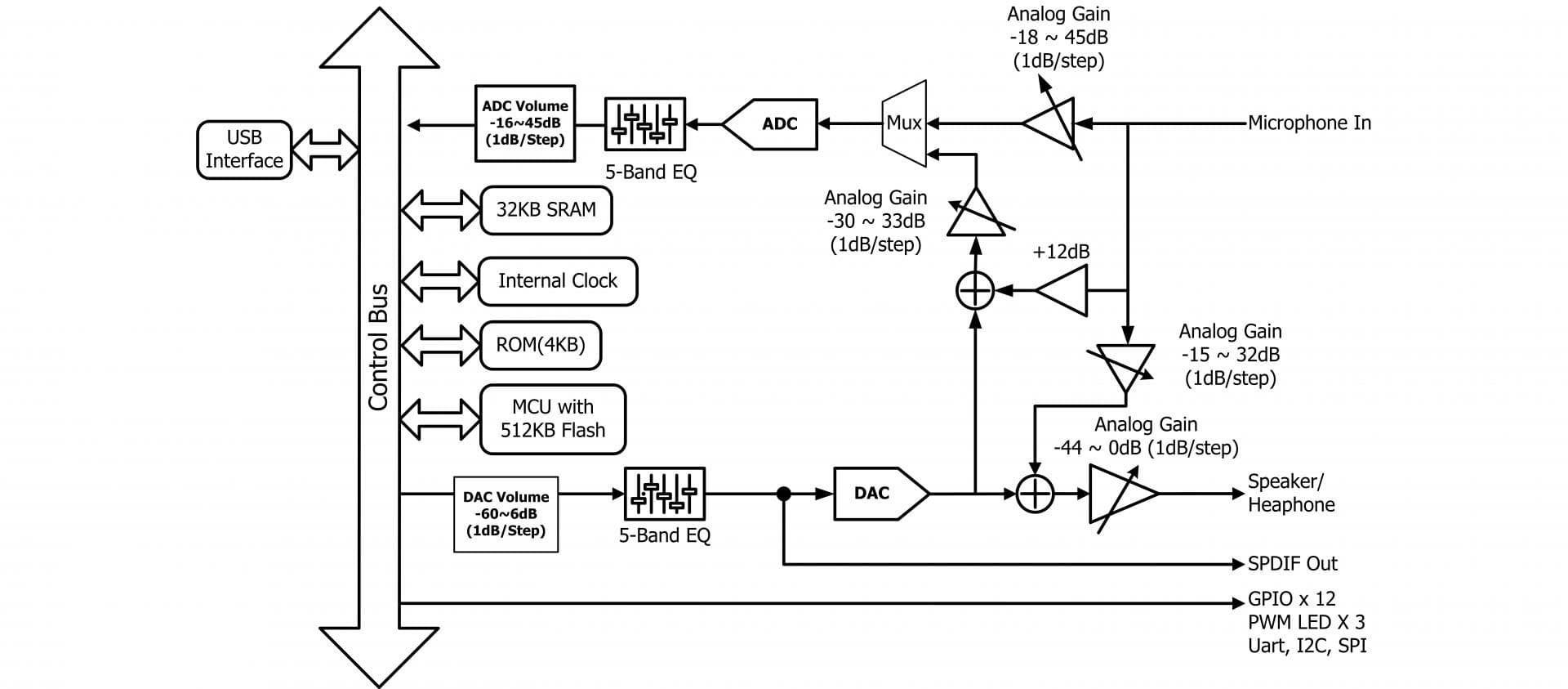
CM7037深度Datasheet解读:实测112dB SNR背后的Jitter敏感度与MLCC降额陷阱

CM7037是C-Media唯一尚未独立成篇的旗舰S/PDIF接收Codec,catalog标注≥120dB SNR,但量产板实测往往落在112–115dB区间——差距来自Jitter和电源被动件选型两个隐形变量。本文从实测边界出发,为工程师拆解可落地的设计参数。

#C-Media#CM7037#S/PDIF音频
April 16, 2026

CM108B vs CM119选型指南:成本敏感型USB音频Codec的BOM精算与量产决策框架

面向采购工程师与硬件工程师,系统对比C-Media CM108B/CM119与昆腾微KT0200系列USB音频Codec的BOM成本差异与TCO决策框架,附CM7104旗舰档位参考,助你在量产规模下做出有数据支撑的选型判断。

#CM108B#CM119#KT0200
April 16, 2026

Teams认证总失败?先搞清楚你的Codec算力够不够——CM7104/ALC5686/KT0235H选型三维拆解

视频会议终端与电竞声卡的选型困境:规格表上CM7104的310MHz、192kHz参数亮眼,ALC5686的32-bit/192kHz够用,KT0235H的384kHz采样率也很猛——但Teams认证卡在哪里?本文从DSP算力边界、麦克风阵列适配性、算法成熟度三个维度拆解三颗旗舰Codec的真实差异,帮你绕过「参数陷阱...

#CM7104#ALC5686#KT0235H
April 15, 2026

310MHz DSP能扛住游戏语音和车载免提吗?CM7104 ENC降噪边界实测

骅讯CM7104凭借310MHz DSP算力与Xear双麦ENC降噪,是高端游戏耳机与车载免提的旗舰音频方案。本文穿透310MHz算力在电竞实时语音与车载引擎噪声场景下的性能边界,对比KT0235H/WS126选型差异,并探讨音频Codec×PD快充的车载场景组合。

#CM7104#骅讯电子#USB音频Codec
April 15, 2026

电源纹波吃掉120dB保真度:CM7037 Capless架构下的USB供电噪声隔离实战方案

拆解CM7037 Capless无电容架构对电源纹波高度敏感的根因,详解太诱FBMH磁珠+EMK系列MLCC多级π型滤波的BOM选型逻辑,提供专业录音场景≥120dB SNR验证测试床的搭建步骤与可量产参考设计。

#CM7037#USB音频设计#供电噪声隔离
April 15, 2026

CM7037 vs CM7104耳机输出架构对比:Capless实测边界与DSP供电耦合的选型十字路口

话务耳机ODM原理图评审现场,硬件团队对Codec选型产生分歧:CM7037的Capless架构能省输出耦合电容,但低阻抗16Ω耳机下的THD+N地板值谁更干净?本文首次正面交叉对比两款芯片的耳机输出能力,从实测边界、DSP纹波耦合到BOM TCO,给出可直接落地的选型决策框架。

#CM7037#CM7104#CM6530N
April 15, 2026

骅讯CM7037拆解:≥120dB SNR能否撑起S/PDIF→USB桥接旗舰地位

骅讯CM7037是专业级S/PDIF输入音频编解码芯片,集成32位定点DSP(5段硬件EQ)与无电容耳放,≥120dB SNR+192kHz参数在实际场景中表现如何?与CM7104的DSP架构差异能否形成场景互补?本篇深度拆解给你答案。

#CM7037#骅讯音频芯片#S/PDIF接收器
April 15, 2026

双ADC为何让5G音频dongle的射频设计难度翻倍:CM7104与KT0235H的SAW双工器四象限选型指南

5G NR Band7/28并发场景下,双路ADC架构使SAW双工器隔离度需求提升10dB。本文量化推导射频耦合失效机理,提供CM7104与KT0235H联合太诱SAW双工器的四象限选型矩阵与BOM成本三角,可直接用于话务耳机/游戏dongle的BOM定稿决策。

#CM7104#KT0235H#SAW双工器选型